利用安全组设置只允许某个IP(IP段)连接ftp进入入口: 登陆管理中心,业务管理--安全及监测--安全组 点击添加按钮添加安全组。创建好以后点击【规则】添加对应的信息。 首先设置一个拒绝所有IP连接ftp端口的规则(ftp默认端口21)。
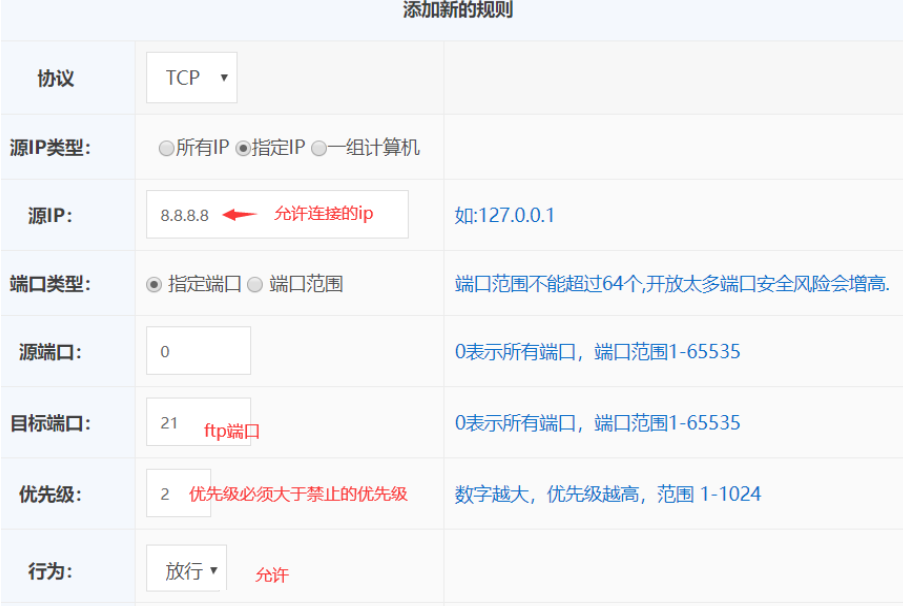
然后再添加允许ftp端口的规则。
关于IP段设置说明: 源IP填写为118.124.8.0/24 表示118.124.8.* 源IP填写为118.124.0.0/16 表示118.124.*.* 添加成功以后,点击“部署”按钮,选择要应用部署的服务器。示例中的端口和ip,更换为自己实际情况的ip和端口。
|
|||||
| >> 相关文章 | |||||




